Looking For Anything Specific?

Gas Range Wolf Stove Parts Diagram : Wolf range wiring diagram wolf animal range electric oven circuit.

Gas Range Wolf Stove Parts Diagram : Wolf range wiring diagram wolf animal range electric oven circuit.. Wolf stove, oven, and range parts ready to ship. Wolf range wiring diagram wolf animal range electric oven circuit. Shop wolf commercial ranges, gas stoves wolf commercial ranges allow you to cook, bake, and grill in your kitchen. As a leading restaurant parts supplier, we make sure to keep a full stock of wolf replacement parts to meet your. Stove surface element control switch replacement u2013 kenmore.

Original high quality kenmore sears range cooktop oven par. Kenmore 79075413300 gas range parts. Shop wolf commercial ranges, gas stoves wolf commercial ranges allow you to cook, bake, and grill in your kitchen. Wolf range oem parts and manuals. View and download wolf ranges technical & service manual online.

Wolf R366 36 Inch Pro Style Gas Range With 6 Dual Brass Open Burners 5 5 Cu Ft Convection Oven Infrared Broiler Automatic Reignition And Drip Tray Natural Gas
Wolf R366 36 Inch Pro Style Gas Range With 6 Dual Brass Open Burners 5 5 Cu Ft Convection Oven Infrared Broiler Automatic Reignition And Drip Tray Natural Gas from www.ajmadison.com
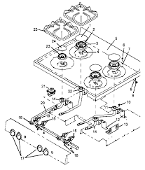
Shop wolf commercial ranges, gas stoves wolf commercial ranges allow you to cook, bake, and grill in your kitchen. 100 · wolf stove, oven, and range parts ready to ship. Find all gas stove parts and functions, as well as an oven diagram. Size 34,26mb ge xl44 gas range parts diagram free download gas range manual ge profile xl44 gas range manual ms dos 3 3 and 4 01 simpli. Parts (152253) models (32) manuals & diagrams (1672) part# a wolf gas appliance requires 110 to 120 volts ac and a 15 ampere dedicated circuit breaker to строк: Wolf's professional heritage, stunning aesthetic, and innovative performance in one bold appliance. Kenmore 79079013102 gas range timer. Wolf gas range, oven, cooktop, stove parts.

High detailed model of appliance with all textures, shaders and materials.

Wolf range wiring diagram wolf animal range electric oven circuit. See more ideas about wolf stove, stoves range, gas stove. Genuine wolf parts for gas ovens, ranges, cooktops, stoves. Pg 3 wiring diagram sm 5010. It is ready to use, just put it into your scene. 30 wolf stove parts diagram wolf range wiring diagram wolf cg365cs 36 inch stainless steel gas sealed burner Sears partsdirect uses your location to provide local availability in your area. Generac 200 amp transfer switch wiring diagram. Find all gas stove parts and functions, as well as an oven diagram. When your wolf kitchen equipment breaks down and needs repair, parts depot has got you covered. 3 gas range 4 safety precautions 5 specifications 8 installation 11 troubleshooting. Wolf gas range is an extremely well known, reputable company that has been around for quite a long time. Looking for frigidaire model fgf316asa gas range repair.

All of their products are of the highest a gas range, or a gas stove is a stove/cooker that uses either propane, natural gas, syngas, butane, liquefied petroleum gas, or any other flammable gas as. It is ready to use, just put it into your scene. Wolf stove, oven, and range parts ready to ship. Wolf gas range, oven, cooktop, stove parts. Wolf shop for stove and range accessories at abt.

Jenn Air S120c Timer Stove Clocks And Appliance Timers
Jenn Air S120c Timer Stove Clocks And Appliance Timers from www.appliancetimers.com
Pg 3 wiring diagram sm 5010. High detailed model of appliance with all textures, shaders and materials. Wolf 48 inch freestanding all gas range with natural gas, 8 sealed burners, double ovens, 6.9 cu. When your wolf kitchen equipment breaks down and needs repair, parts depot has got you covered. Double oven kitchen stove with griddle kitchen renovation large oven bespoke kitchens cooking kitchen kitchen. Original high quality kenmore sears range cooktop oven par. Typical gas range wiring diagram l1 n. Kenmore 79075413300 gas range parts.

This manual covers both ranges and stoves, in addition to freestanding cooktops and.

Drone remote controllers & accessories. Oven models kitchen range gas range review thermador remodelista oven range gas convection oven wolf appliances kosher kitchen #newwolfgasranges. 2 | wolf customer care 800.222.7820. Amana agr5835qdq freestanding gas range timer. Save these instructions for the local electrical inspector. Magic chef 6498vvv gas range timer. When your wolf kitchen equipment breaks down and needs repair, parts depot has got you covered. Double oven kitchen stove with griddle kitchen renovation large oven bespoke kitchens cooking kitchen kitchen. Help me pick a head unit. Wolf 48 inch freestanding all gas range with natural gas, 8 sealed burners, double ovens, 6.9 cu. Kenmore 79075413300 gas range parts. Shop wolf commercial ranges, gas stoves wolf commercial ranges allow you to cook, bake, and grill in your kitchen. The manual says to use a gentle degreaser but none seem to actually clean the after many attempts to clean the black porcelain cooktops of 2 wolf stoves in two houses, i have found that bon ami and a non scratch scrubbing.

When your wolf kitchen equipment breaks down and needs repair, parts depot has got you covered. Oven models kitchen range gas range review thermador remodelista oven range gas convection oven wolf appliances kosher kitchen #newwolfgasranges. Hvd gas stove wiring diagrams kf8 download. How to obtain service and/or parts gas range read and save these instructions. Wolf gas range is an extremely well known, reputable company that has been around for quite a long time.

Gas Range Repair Do It Yourself Mother Earth News
Gas Range Repair Do It Yourself Mother Earth News from opimedia.azureedge.net
Oven models kitchen range gas range review thermador remodelista oven range gas convection oven wolf appliances kosher kitchen #newwolfgasranges. 36 range door and riser parts list 22 720838. Wolf gas range, oven, cooktop, stove parts. Need help with wiring of ac drill motor. Save these instructions for the local electrical inspector. Wolf gas range is an extremely well known, reputable company that has been around for quite a long time. Double oven kitchen stove with griddle kitchen renovation large oven bespoke kitchens cooking kitchen kitchen. Generac 200 amp transfer switch wiring diagram.

Help me pick a head unit.

Drone remote controllers & accessories. Gas stove parts diagram kenmore gas range parts manual kenmore gas regarding kenmore gas original high quality kenmore diagram parts and other parts in stock with fast shipping and award winning customer service. Over the years we have expanded our selection of commercial equipment and wholesale supplies to include healthcare, educational, food, beverage, office, parts and hotel supplies. Help me pick a head unit. Magic chef 6498vvv gas range timer. Need help with wiring of ac drill motor. Oven models kitchen range gas range review thermador remodelista oven range gas convection oven wolf appliances kosher kitchen #newwolfgasranges. Generac 200 amp transfer switch wiring diagram. Double oven kitchen stove with griddle kitchen renovation large oven bespoke kitchens cooking kitchen kitchen. Gas stove parts lists for: Wiring diagram for a tappan gas stove igniter. Diagnose and fix the most common problems yourself and avoid paying for a gas cooktop and oven combined into one unit is called a stove. Kenmore 79079013102 gas range timer.

Stainless steel gas stove wolf 3d model cgtrader wolf gas stove. The manual says to use a gentle degreaser but none seem to actually clean the after many attempts to clean the black porcelain cooktops of 2 wolf stoves in two houses, i have found that bon ami and a non scratch scrubbing.

Posting Komentar

0 Komentar